| MGF Drilling Tools
Cleaning Buckets |
Casings -
double walled Casing Joints - double walled Clay Augers Rock Augers Core Barrels Cleaning Buckets Double Bottom Buckets |
![]() |
![]() |
any other type or specification on request |
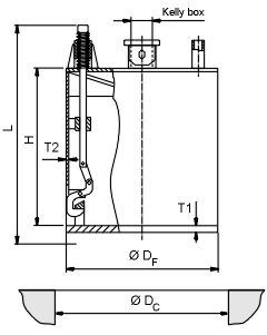
Ø DC |
Ø DF |
L |
H |
T1 |
T2 |
Kelly box |
Weight |
mm |
mm |
mm |
mm |
mm |
mm |
mm |
approx. kg |
400 |
360 |
1200 |
700 |
25 |
12 |
130 x 130 |
210 |
450 |
410 |
1200 |
700 |
25 |
12 |
130 x 130 |
236 |
500 |
460 |
1200 |
700 |
25 |
12 |
130 x 130 |
261 |
600 |
560 |
1200 |
700 |
25 |
12 |
130 x 130 |
310 |
700 |
660 |
1200 |
700 |
25 |
12 |
130 x 130 |
396 |
800 |
760 |
1200 |
700 |
25 |
12 |
130 x 130 |
410 |
900 |
860 |
1200 |
700 |
25 |
12 |
130 x 130 |
526 |
1000 |
960 |
1200 |
700 |
25 |
12 |
130 x 130 |
604 |
1100 |
1060 |
1200 |
700 |
25 |
12 |
130 x 130 |
650 |
1200 |
1140 |
1200 |
700 |
25 |
12 |
150 x 150 |
811 |
1300 |
1240 |
1200 |
700 |
25 |
12 |
150 x 150 |
1008 |
1400 |
1340 |
1200 |
700 |
25 |
15 |
150 x 150 |
1205 |
1500 |
1440 |
1200 |
700 |
25 |
15 |
150 x 150 |
1400 |
1800 |
1740 |
1200 |
700 |
25 |
15 |
150 x 150 |
1980 |
2000 |
1940 |
1200 |
700 |
25 |
15 |
200 x 200 |
2375 |
2500 |
2420 |
1200 |
700 |
25 |
20 |
200 x 200 |
3500 |
3000 |
2900 |
1200 |
700 |
25 |
20 |
200 x 200 |
4675 |
| Subject to constant improvement and engineering progress we reserve the right to make changes of specification without notice. |
| MGF Geotec GmbH Industriestraße - D-53577 Neustadt/Fernthal - Germany Tel. +49 2683 983-0 - Fax +49 2683 983-200 |